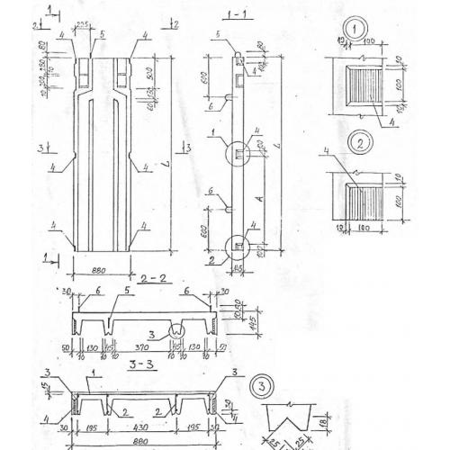
Вентблок ВБ 13-1 предназначен для использования в железобетонных конструкциях. Он обеспечивает надежную вентиляцию и отвод влаги из помещений, что способствует улучшению микроклимата и сохранению конструкций от разрушения. Вентблок имеет прочную структуру и долгий срок службы, что делает его идеальным выбором для строительства и ремонта зданий.









