Железобетонные заборы бывают трех видов:
- Цельные панели. Отливаются в особой форме и не имеют составных частей;
- ограждение с фартуком. Устраняет зазор между землей и панелью;
- сборные. Представляют собой отдельные панели, в комплект которых включаются стаканы и подушки в качестве фундамента. Главное достоинство этих панелей — скорость сборки.
Панели ограды забора изготавливают из бетона высокого качества и армируют с помощью сварных сеток из высококачественной стали. За счет такого сочетания панельное ограждение способно выдерживать большие нагрузки на растяжение и сжатие. Марки бетона для ограждений обеспечивают хорошую водонепроницаемость и морозоустойчивость.
В их производстве используются современные методы вибропрессования. Хранят и перевозят панели с помощью деревянных подкладок, которые отделяют каждый следующий элемент конструкции. Из-за большого веса не обойтись без помощи специальной техники для их монтажа. Хотя устанавливаются они достаточно просто, все же лучше обратиться к специалистам.
Благодаря невысокой цене и большой надежности особую востребованность такие панели нашли в ограждении складов, промышленных объектов, строительных площадок, сельскохозяйственных предприятий. Качественно установленные панели не нуждаются в дополнительном уходе и обслуживании.
Чтобы вы не строили, уже на самом первом этапе возникнет вопрос ограждения территории. К этому вопросу не стоит относиться легкомысленно. Ведь в начале строительства ограждение защитит ваши строительные материалы и оборудование, а в конце послужит готовым ограждением территории земельного участка.
К ограждающей конструкции предъявляются следующие требования:
- Надежная защита территории. Все, что находится за бетонным забором не должно быть доступно посторонним лицам.
- Прочность материала для конструкции. Ограждение не должно разрушаться под воздействием внешних факторов.
- Долговечность. Срок службы должен быть максимально долгим.
- Доступность материала. Сборное ограждение легко найти на рынке материалов в случае поломки части конструкции.
- Легкость возведения ограждения и замены ее частей. Конструкция должна просто и быстро монтироваться. А в случаи возникновения разрушения, неисправную часть ограждения легко заменить на исправную панель конструкции, не касаясь всего ограждения.
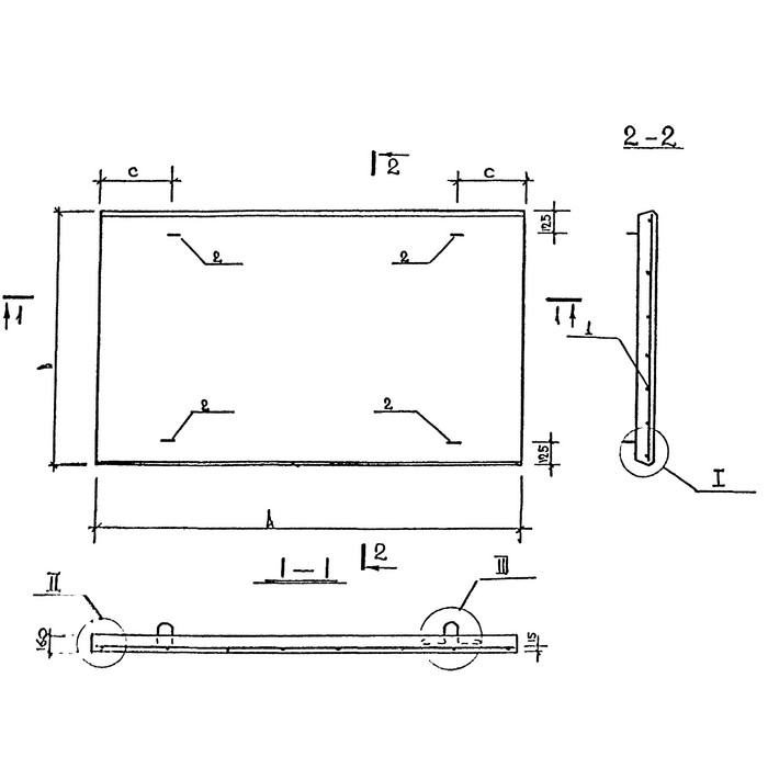
Размеры и характеристики панели представлены в таблице ниже. по ГОСТ допускается отклонение размеров на более 4-6 мм.
- Длина: 3 980 мм.
- Ширина: 160 мм.
- Высота: 2 500 мм.
- Вес: 1,975 т.
- Объем: 0.790 м³
- ГОСТ: Б3.017.1-4.03
Железобетонные изделия этой серии выпускаются в различных размерных и конструктивных вариациях, поэтому в производстве встречаются ЖБИ с различной буквенно-цифровой маркировкой.
Цифры обозначают размер (толщину изделия).
Маркировка римскими цифрами показывает тип арматуры (напрягаемая стержневая, ненапрягаемая).
Доставка осуществляется собственным транспортом в г. Осьмино, области и другим регионам России! Расчет доставки можно заказать в разделе Доставка.
Транспортировать тяжеловесный груз согласно ГОСТ Б3.017.1-4.03 разрешено только в горизонтальном положении в спецтранспорте. При погрузке/разгрузке запрещено перемещать по нескольку штук. Исключение: такелажные работы специальными устройствами, где допускается подъем одновременно нескольких изделий.
При складировании на открытом грунте в основание штабеля кладется прокладка толщиной не менее 10 см, необходим сток для воды.
Цена за штуку зависит от их размера, толщины, наличия/отсутствия укрепляющих добавок, армирования. Чтобы не переплачивать за товар, целесообразно заказать напрямую от производителя на заводе ЖБИ Маркет. Так вы получите сертифицированные железобетонные изделия с лабораторным заключением и по оптимальной стоимости.
Наша компания может предложить вам оптимальный баланс между качеством и стоимостью.
Наш прайс можно запросить и оформить заказ в интересующем Вас разделе сайта.
Зайдите ознакомиться с ценами и убедитесь, что сотрудничество с нами будет выгодным для вас.
Наш завод ООО ЖБИ Маркет осуществляет свою деятельность с октября 2003 года.
Выгодно купить Панель оград ПО 40-25-16 в Осьмине без посредников на заводе ЖБИ Маркет. Сейчас мы наращиваем производственную мощность и ищем новых надежных партнеров.
Если Вы всерьез настроены на сотрудничество – свяжитесь с нами по телефонам, указанным во вкладке «Контакты».









